深度剖析恒源PF反击式破碎机工作原理及结构特征
反击式破碎机工作原理:
反击式破碎机是一种利用冲击能来破碎的破碎机械。当物料进入板锤作用区时,受到板锤的高速冲击而破碎,并被抛向安装在转子上方的反击装置上再次破碎,然后又从反击衬板上弹回到板锤作用区重新破碎。此过程重复进行,直到物料被破碎至所需粒度,由机器下部排出为止。调整反击架与板锤之间的间隙可达到改变物料出料粒度和物料形状的目的。
反击式破碎机是一种利用冲击能来破碎的破碎机械。当物料进入板锤作用区时,受到板锤的高速冲击而破碎,并被抛向安装在转子上方的反击装置上再次破碎,然后又从反击衬板上弹回到板锤作用区重新破碎。此过程重复进行,直到物料被破碎至所需粒度,由机器下部排出为止。调整反击架与板锤之间的间隙可达到改变物料出料粒度和物料形状的目的。

本机在后架上采用自重式保险装置,当非破碎物料进入破碎腔后,前后反击架后退,非破碎物料从机内排出。
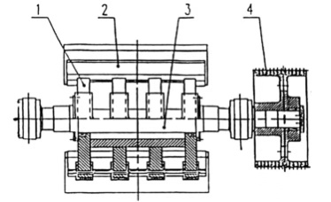
反击破结构和特征:
如下图1所示,反击式破碎机主要由转子、反击架、机架、棘轮翻盖(液压翻盖)和传动部分等零部件组成。

1、转子 2、反击架 3、机架
图1 反击破碎机结构图
转子部分
转子体是本机心脏部分(见下图2)。转子架采用钢板焊接而成,板锤被固定在正确的位置,轴向限位装置能有效的防止板锤窜动。
板锤采用高耐磨材料制成。整个转子具有良好的动静平衡和耐冲击性。
机架
机架是由三部分坚固、抗扭的箱形焊接结构组成,彼此用高强度螺栓连接。为保证安全可靠地更换易损件,铰接式机架盖可用机械装置或液压装置打开。建议用户在机架上方设置起吊装置,这将帮助你更为快捷地打开上机架以更换易损件或检测设备。机架两侧均设有检测门。
反击架
本机装有前、后二个反击架,均采用自重式悬挂结构。每一反击架被单独地支承在破碎机机架上。破碎机工作时,反击架由自重保持其正常工作位置;过铁时,反击架迅速抬起,异物排除后,又重新返回原处。反击架与转子之间的间隙可通过悬挂螺栓进行调整。反击衬板用高强度螺栓固定在反击架上。反击衬板可以从磨损较大的地方更换到磨损较小的地方。

1、转子架 2、板锤 3、轴 4、槽轮
图2 转子部件图
传动部分
传动采用三角皮带传动。与主轴配合的槽轮采用胀套联接,便于装拆。转子的速度可通过更换电机槽轮来调整。

反击式破碎机出厂图

反击破工程现场案例图
反击式破碎机生产线视频:
点击观看 【颚破+反击破】生产线视频
反击破厂家简介:
上海恒源冶金设备有限公司自成立以来,一直专注于砂石生产线设备的研发、生产与销售,公司主营产品主要有破碎、制砂、磨粉、输送筛分设备及配套备件等。位于江苏启东滨海工业园区的六万平米大型矿机生产基地,具备先进的数控加工设备和产品质检检测仪器,设备精度高、速度快,具有很强的生产能力,欢迎广大客户前来实地工厂考察和咨询,期待与您携手共赢!
采购联络方式:
国内销售:021-58973788
国际销售:021-33781259
全国服务热线:400-820-2021
欢迎新老客户致电,预约参观,我们将为您提供完善的碎石、制砂生产线成套设备解决方案,让专业的人做专业的事,让您我一起携手,共赢未来!
往期恒源微信公众号内容链接回顾:
产品系列
Phoenix【砂石生产线设备】产品大全,收藏备用!
生产线案例
发货系列
10-07 福建砂石生产线发货回顾
09-28 湖南砂石生产线发货回顾
09-28 吉林砂石生产线发货回顾
09-23 广西砂石生产线发货回顾
09-18 湖南砂石生产线发货回顾
本公司一直坚信好的资源和信息需要分享,本文暨上海恒源冶金设备有限公司官方网站的原创发布,转载请注明出处!
技术文章
返回首页
旋回式破碎机3D动画
2023-02-27
【行业观察】生态文明理念下维持矿山生态稳定靠什么——对话绿色矿山推进委员会会长史
2019-09-16
颚式破碎机怎么检查与维护
2023-05-12
恒源生产的广西砂石生产线设备已成功投入运行
2019-05-24
【破碎设备】花岗岩,鹅卵石破碎制砂,如何选出最好的破碎机设备方案
2019-08-25
锤式破碎机的用途,是否可分类,组成,以及锤式破碎机的特点详解!
2019-08-25
石灰石制砂工艺深度对比
2025-11-30
【矿业】我国首次发布全球矿业发展报告
2019-10-11
恒源碎石生产线满足不同的工艺要求,受到广大碎石厂家的青睐
2019-09-03
云南昭通石灰石生产线试机成功开张大吉!
2021-03-16
湖北房县舒乐破碎机生产线工艺流程
2019-05-12
破碎机成为基础建设的得力助手
2019-05-10
移动破碎生产线生产流程动画
2023-02-25
恒源集团可逆锤式破碎机有哪些优势
2019-05-10
振动给料机试机
2020-04-07
【焦点】建筑垃圾资源化利用新趋势,移动破碎
2019-07-05
揭秘时产300吨移动破碎机:全网独家盘点,选型不再迷茫!
2024-12-31
破碎机出现抽气现象怎么办?
2023-04-17
单缸圆锥破碎机发货,附照片和视频
2020-04-30
时产2000吨铁矿石破碎生产线技术方案
2021-07-28






